学校主页
About BIT
首页
Home
关于我们
About
部门介绍
About BIT Global
部门人员
Contact US
全球合作
Global Engagement
合作伙伴
Partnerships
北理学者
Professors
合作项目
Programs
来访申请
Visiting Request
港澳台事务
Hong Kong, Macao &Taiwan Affairs
合作伙伴
Partnerships
合作项目
Programs
合作办学
Cooperation in Running Schools
合作办学项目
Joint-running Programs
合作办学机构
Joint-running Institutions
留学北理
Study in BIT
学校主页
For Visitors
首页
关于我们
部门介绍
部门人员
全球合作
合作伙伴
北理学者
合作项目
来访申请
港澳台事务
合作伙伴
合作项目
合作办学
合作办学项目
合作办学机构
留学北理
您所在的位置:
首页
-
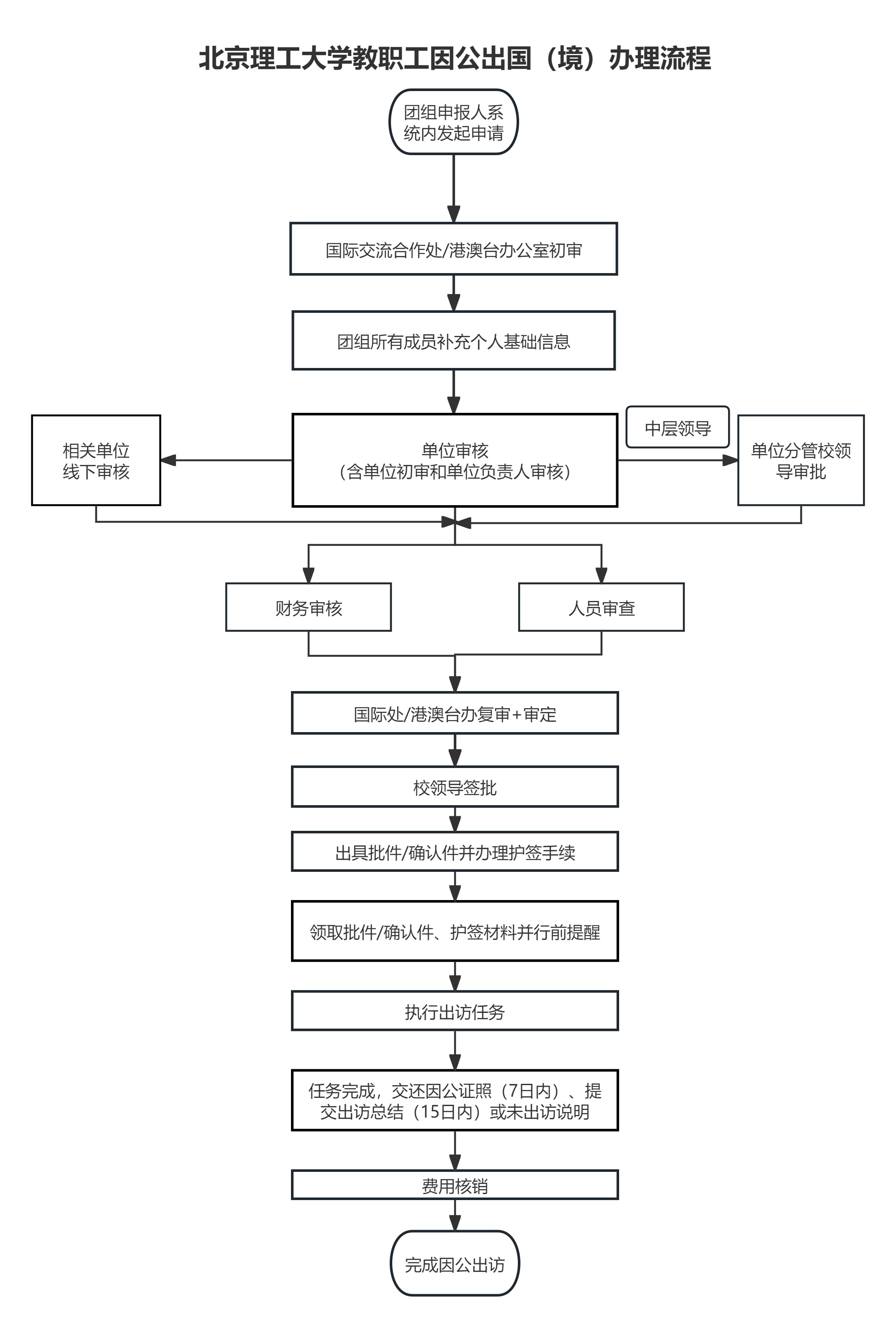
因公出境
-
各类信息
-
业务流程
业务流程
教职工因公出国(境)业务办理流程
日期:2025-03-11
|
访问量: